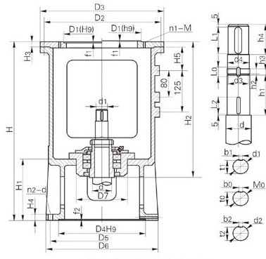
产品简介:
本系列机架是化工行业最新标准机架,是为搅拌传动装置(HG21563-95)配套的机架。XD型为单支点机架,减速机出轴用DF型联轴器与搅拌轴 联接,XS型为双支点机架,减速机出轴用HL型联轴器联接,两支点间用DF型联轴器联接。机架分A型(轴封采用2001、2003、2004、2006型 机械密封)或B型(轴封(2002、2005、2007型机械密封或506、516、606、616型填料箱)。机架输出端接口可与第九部分(二节)所列 的安装底盖及釜口法兰联接。
本系列机架通用性强,由于选用型DF联轴器及安装底盖的搁轴装置,所以在不拆除减速机和机架的条件下,在机架的侧面窗口中就可以拆出带短节联轴器、轴承室及机械密封或填料箱。
型号标定方法及示例:


1、XD型单支点机架
主要参数及尺寸(公称直径200、250、300)
机架 型号 |
机架 公称 直径 |
传动轴 轴径d |
传动轴上 端轴径d1 |
减速机 输出轴 径d0 |
输入 端接 口 |
输出端接口 |
外形及其它尺寸 |
轴承型号 |
重量(kg) |
D4 H9 |
D5 |
D6 |
n2-d |
f2 |
A型 |
B型 |
H3 |
H4 |
H5 |
D7 H8/f7 |
A型 |
B型 |
| H |
H1 |
H2 |
H |
H1 |
H2 |
| XD1 |
200 |
30 |
20 |
12 |
见 表 |
245 |
295 |
340 |
8-22 |
6 |
575 |
220 |
415 |
730 |
295 |
495 |
17 |
24 |
85 |
180 |
46209 |
57 |
61 |
| 14 |
| 18 |
| 40 |
30 |
25 |
415 |
495 |
46209 |
57 |
60 |
| 30 |
| XD2 |
250 |
50 |
40 |
30 |
290 |
350 |
395 |
12-22 |
6 |
750 |
268 |
556 |
995 |
388 |
681 |
20 |
30 |
100 |
245 |
46214 |
106 |
116 |
| 35 |
| 40 |
| 60 |
45 |
35 |
556 |
681 |
46214 |
107 |
117 |
| 40 |
| 45 |
| 70 |
55 |
45 |
565 |
690 |
46217 |
104 |
114 |
| 50 |
| 55 |
| XD3 |
300 |
60 |
45 |
35 |
320 |
400 |
445 |
12-22 |
6 |
795 |
279 |
595 |
1040 |
399 |
720 |
20 |
30 |
100 |
280 |
46216 |
153 |
164 |
| 40 |
| 45 |
| 70 |
55 |
45 |
595 |
720 |
46216 |
150 |
161 |
| 50 |
| 55 |
| 80 |
65 |
55 |
606 |
731 |
46218 |
149 |
160 |
| 60 |
| 65 |
机架 型号 |
机架 公称 直径 |
传动轴 轴径d |
传动轴上 端轴径d1 |
传动轴端尺寸 |
| M0 |
d2(h9) |
d3 |
d4 |
h1 |
h2 |
h3 |
h4 |
L1 |
L0 |
L2 |
b1 |
b0 |
b2 |
t1 |
t0 |
t2 |
| XD1 |
200 |
30 |
20k6 |
M25×1.5 |
25 |
22.8 |
22 |
97 |
3 |
15 |
48 |
40 |
23 |
30 |
6 |
5 |
5 |
16.5 |
21 |
22 |
| 40 |
30k6 |
M35×1.5 |
35 |
32.8 |
32 |
97 |
3 |
15 |
48 |
40 |
24 |
30 |
8 |
6 |
6 |
26 |
31 |
31.5 |
| XD2 |
250 |
50 |
40k6 |
M45×1.5 |
45 |
42.8 |
42 |
105 |
3 |
15 |
58 |
50 |
24 |
30 |
12 |
6 |
6 |
35 |
41 |
41.5 |
| 60 |
45k6 |
M55×2 |
55 |
52 |
50 |
115 |
4 |
18 |
68 |
60 |
30 |
40 |
14 |
8 |
8 |
39.5 |
51 |
51 |
| 70 |
55m6 |
M65×2 |
65 |
62 |
60 |
125 |
4 |
18 |
83 |
75 |
30 |
40 |
16 |
8 |
8 |
49 |
61 |
61 |
| XD3 |
300 |
60 |
45k6 |
M55×2 |
55 |
52 |
50 |
125 |
4 |
18 |
68 |
60 |
30 |
40 |
14 |
8 |
8 |
39.5 |
51 |
51 |
| 70 |
55m6 |
M65×2 |
65 |
62 |
60 |
125 |
4 |
18 |
83 |
75 |
30 |
40 |
16 |
8 |
8 |
18 |
61 |
61 |
| 80 |
65m6 |
M75×2 |
75 |
72 |
70 |
139 |
4 |
18 |
98 |
90 |
32 |
50 |
18 |
10 |
10 |
58 |
69 |
70 |
XD型单支点机架主要参数及尺寸(公称直径400,500,700)
机架 型号 |
机架 公称 直径 |
传动轴 轴径d |
传动轴上 端轴径d1 |
减速机 输出轴 径d0 |
输入 端接 口 |
输出端接口 |
外形及其它尺寸 |
轴承型号 |
重量(kg) |
D4 H9 |
D5 |
D6 |
n2-d |
f2 |
A型 |
B型 |
H3 |
H4 |
H5 |
D7 |
A型 |
B型 |
| H |
H1 |
H2 |
H |
H1 |
H2 |
| XD4 |
400 |
90 |
75 |
55 |
见 表 |
415 |
515 |
565 |
16-26 |
6 |
890 |
310 |
691 |
1115 |
420 |
806 |
25 |
35 |
100 |
310 |
46222 |
251 |
256 |
| 65 |
| 70 |
| 100 |
85 |
65 |
691 |
806 |
46222 |
256 |
270 |
| 70 |
| 80 |
| XD5 |
500 |
100 |
85 |
65 |
520 |
620 |
670 |
20-26 |
6 |
1075 |
369 |
821 |
1325 |
494 |
946 |
30 |
40 |
140 |
335 |
46224 |
409 |
435 |
| 70 |
| 80 |
| 110 |
90 |
70 |
821 |
946 |
46224 |
405 |
431 |
| 80 |
| 90 |
| 120 |
100 |
90 |
829 |
954 |
46228 |
401 |
427 |
| 95 |
| 100 |
| 130 |
110 |
95 |
829 |
954 |
46228 |
395 |
421 |
| 100 |
| 110 |
| XD6 |
700 |
120 |
100 |
90 |
670 |
780 |
830 |
28-26 |
6 |
1185 |
399 |
909 |
1415 |
514 |
1024 |
35 |
45 |
100 |
400 |
46228 |
729 |
766 |
| 95 |
| 100 |
| 130 |
110 |
95 |
909 |
1024 |
46228 |
721 |
758 |
| 100 |
| 110 |
| 140 |
120 |
100 |
927 |
1042 |
46232 |
729 |
766 |
| 110 |
| 120 |
| 160 |
140 |
120 |
943 |
1058 |
46234 |
697 |
734 |
| 130 |
| 140 |
| XD7 |
900 |
140 |
120 |
100 |
940 |
1070 |
1124 |
40-30 |
6.4 |
1320 |
440 |
1021 |
1560 |
570 |
1141 |
40 |
50 |
140 |
520 |
46232 |
985 |
874 |
| 110 |
| 120 |
| 160 |
140 |
120 |
1037 |
1157 |
46234 |
1000 |
889 |
| 130 |
| 140 |
| 180 |
160 |
140 |
1050 |
1170 |
46240 |
1010 |
899 |
| 150 |
| 160 |
| 200 |
180 |
160 |
1070 |
1190 |
46244 |
1032 |
921 |
| 170 |
| 180 |
机架 型号 |
机架 公称 直径 |
传动轴 轴径d |
传动轴上 端轴径d1 |
传动轴端尺寸 |
| M0 |
d2(h9) |
d3 |
d4 |
h1 |
h2 |
h3 |
h4 |
L1 |
L0 |
L2 |
b1 |
b0 |
b2 |
t1 |
t0 |
t2 |
| XD4 |
400 |
90 |
75m6 |
M85×2 |
85 |
82 |
80 |
162 |
4 |
18 |
108 |
100 |
32 |
50 |
20 |
10 |
10 |
67.5 |
79 |
80 |
| 100 |
85m6 |
M95×2 |
95 |
92 |
90 |
166 |
4 |
22 |
118 |
110 |
38 |
50 |
22 |
12 |
12 |
76 |
89 |
90 |
| XD5 |
500 |
100 |
85m6 |
M95×2 |
95 |
92 |
90 |
166 |
4 |
22 |
118 |
110 |
38 |
50 |
22 |
12 |
12 |
76 |
89 |
90 |
| 110 |
90m6 |
M100×2 |
100 |
97 |
95 |
166 |
4 |
22 |
118 |
110 |
38 |
50 |
25 |
12 |
12 |
81 |
94 |
95 |
| 120 |
100m6 |
M110×2 |
110 |
107 |
105 |
177 |
4 |
22 |
128 |
120 |
40 |
60 |
28 |
14 |
14 |
60 |
104 |
104.5 |
| 130 |
110m6 |
M120×2 |
120 |
117 |
115 |
177 |
4 |
26 |
138 |
130 |
44 |
70 |
28 |
14 |
14 |
100 |
114 |
114.5 |
| XD6 |
700 |
120 |
100m6 |
M110×2 |
110 |
107 |
105 |
177 |
4 |
22 |
128 |
120 |
40 |
60 |
28 |
14 |
14 |
90 |
104 |
104.5 |
| 130 |
110m6 |
M120×2 |
120 |
117 |
115 |
177 |
4 |
26 |
138 |
130 |
44 |
70 |
28 |
14 |
14 |
100 |
114 |
114.5 |
| 140 |
120m6 |
M130×2 |
130 |
127 |
125 |
197 |
4 |
26 |
153 |
145 |
44 |
70 |
32 |
14 |
14 |
109 |
122 |
124.5 |
| 160 |
140m6 |
M150×2 |
150 |
147 |
145 |
207 |
4 |
30 |
168 |
160 |
50 |
70 |
39 |
16 |
16 |
128 |
142 |
144 |
| XD7 |
900 |
140 |
120m6 |
M130×2 |
130 |
127 |
125 |
197 |
4 |
26 |
153 |
145 |
44 |
70 |
32 |
14 |
14 |
109 |
122 |
124.5 |
| 160 |
140m6 |
M150×2 |
150 |
147 |
145 |
207 |
4 |
30 |
168 |
160 |
50 |
70 |
36 |
16 |
16 |
128 |
142 |
144 |
| 180 |
160m6 |
M170×3 |
170 |
166 |
165 |
227 |
4 |
32 |
198 |
190 |
52 |
80 |
40 |
16 |
16 |
157 |
162 |
164 |
| 200 |
180m6 |
M190×3 |
190 |
186 |
185 |
242 |
4 |
32 |
238 |
230 |
54 |
90 |
45 |
18 |
18 |
175 |
180 |
182 |
XD、XS型机架输入端接口尺寸
| 减速机输出轴径d0 |
减速机类别代号 |
D1 |
D2 |
D3 |
n1-M |
f1 |
| 12 |
Z |
65 |
100 |
120 |
4-M6 |
3 |
| 14 |
Z |
85 |
120 |
140 |
4-M8 |
3 |
| 18 |
Z |
100 |
134 |
160 |
4-M8 |
4 |
| 25 |
Z |
130 |
160 |
180 |
6-M8 |
4 |
| C |
170 |
200 |
230 |
6-M10 |
3 |
| 30 |
C |
200 |
230 |
260 |
6-M12 |
4 |
| 35 |
Z |
170 |
200 |
230 |
6-M10 |
5 |
| C |
230 |
260 |
290 |
6-M12 |
4 |
| 40 |
Z |
170 |
200 |
230 |
6-M10 |
5 |
| C |
230 |
260 |
290 |
6-M12 |
4 |
| 45 |
Z |
200 |
230 |
260 |
6-M10 |
5 |
| C |
230 |
260 |
290 |
6-M12 |
4 |
| 50 |
Z |
200 |
230 |
260 |
6-M10 |
5 |
| C |
270 |
305 |
340 |
8-M16 |
5 |
| 55 |
Z |
270 |
310 |
340 |
6-M10 |
5 |
| C |
270 |
305 |
340 |
8-M16 |
5 |
| 60 |
C |
320 |
360 |
400 |
8-M16 |
5 |
| 65 |
Z |
316 |
360 |
400 |
8-M12 |
6 |
| Z1 |
270 |
310 |
340 |
6-M10 |
5 |
| 减速机输出轴径d0 |
减速机类别代号 |
D1 |
D2 |
D3 |
n1-M |
f1 |
| 60 |
C |
320 |
360 |
400 |
8-M16 |
5 |
| 70 |
Z |
316 |
360 |
400 |
8-M16 |
6 |
| C |
320 316 |
360 |
400 |
8-M16 |
5 |
| 80 |
Z |
345 |
390 |
430 |
8-M16 |
6 |
| Z1 |
316 |
360 |
400 |
8-M12 |
6 |
| C |
360 |
410 |
460 |
8-M20 |
6 |
| 90 |
Z |
400 |
450 |
490 |
12-M16 |
8 |
| C |
360 |
410 |
460 |
8-M20 |
6 |
| 95 |
Z |
400 |
450 |
490 |
12-M16 |
8 |
| Z1 |
455 |
520 |
580 |
12-M20 |
10 |
| 100 |
Z |
455 |
520</, td> |
580 |
12-M20 |
10 |
| C |
470 |
520 |
580 |
12-M20 |
6 |
| 110 |
Z |
520 |
590 |
650 |
12-M20 |
12 |
| C |
470 |
520 |
580 |
12-M20 |
6 |
| 120 |
Z |
520 |
590 |
650 |
12-M20 |
12 |
| C |
550 |
600 |
660 |
12-M20 |
6 |
| 130 |
Z |
680 |
800 |
880 |
12-M30 |
12 |
| C |
680 |
800 |
880 |
12-M30 |
8 |
| 140 |
Z |
680 |
800 |
880 |
12-M30 |
12 |
| 180 |
Z |
900 |
1020 |
1160 |
12-M36 |
12 |
注:1、减速机类别代号Z为x系列,B系列的摆线针轮减速C为LC型,DC型齿轮减速机。
2、其他类型减速机由我公司对接口加以调整后也可配套。